The wishlist name can't be left blank

Free Shipping when you buy 1kg coffee on orders $60+

How To Use A French Press - The Coffee Lovers French Press Brewing Guide

What is French Press Coffee?

French Press coffee is a rich full-bodied brew that is all about robust flavours and strength. The French Press itself is elegantly designed and is super easy to use – totally technophobe friendly!

Depending on where you are in the world, you may also know it by one of its other titles. For example, it is known as a caffettiera a stantuffo in Italy, but the term the French use for it is cafetière à piston (though they may also refer to them via popular trademarks like Melior or Bodum). Coffee lovers in the UK and the Netherlands refer to it as a cafetière, while the US and Canada call it a French Press or Coffee Press. Meanwhile, in New Zealand, Australia and South Africa it is known more simply as a coffee plunger.

This classic coffee pot can be underrated by many coffee lovers when they start comparing different brewing methods. They fall in love with the dynamics of the AeroPress or the science-vibe of the Syphon, but if you are looking for a minimal effort method that rewards you with a strong coffee, then you need to get a French Press. Why? Because they’re cost-effective, easy to use and produce a brilliant home-brewed coffee.

The French Press has a long history of making a damn good cup, beginning with the first recorded patent in 1852 by two Frenchmen, Myer and Delforge. The most similar version of the modern French press that we know and love were patented by Attilio Calimani, an Italian designer with a penchant for delicious beverages, in 1932. Over the decades, various modifications have entered the French Press market, such as Faleiro Bondanini’s 1958 patent, which was manufactured and distributed across Europe by Danish company Bodum. Despite any variations, the essential elements of the French Press method have remained unaltered for the better part of a century!

A French Press coffee pot is a glass or plastic cylindrical beaker, housed in a metal or plastic frame, and topped by a metal or plastic lid. Running through the centre of this lid is a rod secured to a mesh filter (made with either a fine wire or nylon), which sits snugly inside the beaker. By placing pressure on the rod, the coffee will be pushed to the bottom of the beaker and the brew will be forced through the mesh filter as it’s pushed downwards.

The French Press coffee pot is all about minimal effort – it has only a few steps, requires only a few items, takes only a few minutes to brew and a few minutes to clean up!

Simple. Easy. Delicious. Unbeatable.

How to Use a French Press

Watch our instructional video to see how to make delicious French Press coffee!

 

 

How to Use a French Press To Make a Latte

 


What you will need:

Brew Time:

4 minutes

French Press Coffee Ratio:

The ratio used for French Press is 7g of coffee per 100ml filtered water.

Step 1: Prep! Set your water to boil to around 94 degrees Celsius and grind 21g of fresh coffee for a French Press or plunger (very course).  Heat the beaker with a little of the hot water to prep it, then discard the water. 

french press, step 1

Step 2: Tip the ground coffee into the French Press vessel and add 300ml of hot water.

french press, brewing guide, step 2                                                                french press, brewing guide, step 2

Step 3: Let this sit for 30 seconds then stir.

french press, brewing guide, step 3

Step 4: Place the plunger part of the vessel on top and let it sit there for 3-5 minutes (depending on how strong you like it, 4 mins is the recommended brew time). The longer you leave it the stronger it will taste, but be sure not to over brew as this will create bitter flavours.

french press, brewing guide, step 4                                                                    french press, brewing guide, step 4

Step 5: Now slowly start to put pressure on the plunger rod, pushing the filter downwards and decant immediately to serve. Enjoy black or with a dash of milk!

french press, brewing guide, step 5                                                                              french press, brewing guide, step 5

What Coffee Grind Setting Should I Use in a French Press?

The grind setting you use for your coffee is really important as it will affect the rest of the elements and will be one of the biggest determining factors in the flavour and caffeine in your cup.

KRUVE Sifter

Using a coarser grind like we recommend will mean two things: you may need a longer brew time and you may end up with less caffeine in your cup. The larger grind particles mean there is less particles to extract from and reduced water flow around those particles, both of which contribute to the extraction of caffeine, sugars, oils and acids. Essentially, espresso extracts 6x more caffeine then French Press, and it has a lot to do with the grind setting.

Crema Coffee Garage  University of Newcastle Caffeine Study Table

Learn more about the science on caffeine extraction in alternative brewing methods here.

Does Water Temperature & Brew Time Alter Coffee Flavour?

Short answer: Yes.

Every brew method is a balance of water temperature and brew time, which is most evident with cold brewing coffee. When you are cold brewing coffee, you use room temperature or cold water and without the heat to unlock the flavonoids and caffeine in the coffee, you need to replace heat with time.

The French Press is no different and you will need to find the balance between your water temp and the length of time you brew for. As Toddy has taught us, cooler temperatures mean you need to lengthen your brew time. They have also taught us that cooler temperatures result in a less acidic coffee, so if you want to try and producer a coffee that is smoother in flavour and less acidic, try lowering the water temperature. Here is a recipe we created for one of our single origins that uses a lower temperature with the French Press.

 

What is Coffee-to-Water Ratio?

A coffee-to-water ratio tells you how many grams of coffee you should use with how many mL of water.

For French Press, we somewhere between a 1:10 and 1:14 ratio, which is in line with most other recipes you’ll find for French Press (the KRUVE Brew Guide recommends a ratio of 1:13 for French Press).  To demonstrate how this works, I’ll use an example: if you’re using 20g of ground coffee, you would use 200mL of water in a 1:10 ratio, 260mL in a 1:13 ratio or 280mL in a 1:14 ratio.

This ratio is important: too little coffee-to-water and it will be under-extracted; too much coffee and it will quickly over-extract.

 

What is the Recommended French Press Recipe?

The truth is the “recommended” French Press recipe will depend on where you go looking for that information, but I can tell you what Crema Garage recommends. 

French Press Recipe:

    - Coffee Dose: 20g

    - Water Volume: 200ml

    - Brew Time: 3-4 mins

    - Temperature: 90-92˚C

    - Bloom: 40g for 30 secs

    - Grind Level: Plunger / Very Coarse     

This will be a good starting point for most users. From this recipe, you can start changing up one element at a time to see what you personally prefer because the only thing that actually matters when it comes to coffee is that the brew you’re drinking should bring you joy and comfort – that is the magic of coffee!

 

Cold Brewing Coffee with a French Press

Yes, you read that correctly, you can cold brew coffee in a coffee press.

Before Toddy claimed the title of Cold Brew King, coffee lovers were still making cold coffee and they often brewed it in their French Press. As far as coffee recipes go, this is a super simple one!

We’ve already covered the importance of the coffee-to-water ratio and all you need to do is apply the Toddy ratio to the size of your French Press. We recommend a 1:4 ratio for cold brewing coffee, so if you coffee press will hold 300mL of water you would add 75g of ground coffee.

French Press Cold Brew Coffee Recipe:

    - Coffee:Water Ratio: 1:4 (example - 75g:300mL)

    - Grind Level: Medium-Coarse    

    - Process: Add the coffee and water to the French Press in bits, making sure all the grounds get saturated (you can use a spoon or stirrer to gently fold the coffee into the water if needed); cover the top of the beaker and place in the fridge for 8 hours; put the French Press lid on once brewing is finished and press the filter down; pour the coffee brew out and serve.

    - Brew Time: 8 hours

    -Temperature: Use water at room temperature or cold water

 

The Modern French Press

Today, there are more brands producing French Press models than ever before, giving coffee enthusiasts plenty of options to choose from.

Chambord French Press white space

 

The classic Chambord Bodum model French Press is a design that has withstood the test of time.

It is still used all over the world for brewing delicious press coffee.

Available in Chrome and Copper.

Hario Olive Wood Press

 

The Chambord design and filter has been so popular over time that even big-name brands like Hario have their own version.

This olive wood Coffee Press from Hario is an elegant revamp of the classic French Press Style.

Planetary Design Bru Stop French Press

 

The Planetary Design 20oz French Press with Bru-Stop challenges the traditional glass French press, with its double-walled,vacuum-sealed body and patented Bru-Stop press technology.

With this innovative design, you can brew your coffee just the way you like it, without the flavour profile changing from first sip to last.

Varia Multi Brewer

 

The Varia Multi Brewer is a 6-in-1 brewing unit made with high-quality materials and designed by coffee-masters in New Zealand and includes a lid and filter to use as a French Press.

The Varia includes a dripper in a 2 cup (02) size for filter coffee, stainless steel jug for cold brewing or tea brewing, plunger for press coffee, Moka Pot coffee chamber for stovetop coffee, and a boiler so you can use the Varia as a kettle as well.

Who Invented the French Press?


The answer to this questions depends on which version of the coffee press you’re talking about:

 

Mayer & Delforge, patent filed in France 1852

The first recorded patent for the French Press was filed in 1852 by two Frenchmen, Mayer and Delforge. As simple as the design was, manufacturing the filters (https://www.dailyespresso.co.uk/history-of-cafetiere-french-press/) to the right size for the pots proved difficult and many of the pots had gaps between the edge of the filter and the sides of the pot. This meant that grounds could still come through with the brew, which can create a gritty texture.

Mayer & Delforge French Press Patent 1852

 

Calimani & Moneta, patent filed in Italy, 1929

Two Italian men by the names of Attilio Calimani and Giulio Moneta took up the challenge of improving the filtration by adding flexible packing around the edge of the filter to form a seal at the sides. He proposed this flexible packing could be made from a helical spring and/or rubber – both of which are still used in modern French Press designs.

Calimani & Moneta French Press Patent 1929

 

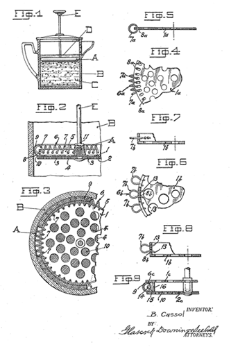
Cassol, patent filed in Italy, 1935

Cassol built upon Calimani’s ideas by covering the helical spring in the gauze part of the filter, which is the closest match to modern filters used today.

Cassol French Press Patent 1935

 

Bondanini, patent granted in France, 1958

Faliero Bondanini attempted to reinvent the French Press by replacing the helical spring/rubber with flexible metal fins that would push against the sides of the pot. It was originally manufactured in a French clarinet factory, Martin S.A., owned by Mr. Louis-James de Viel Castel who also owned La Cafetiere and sold under the name ‘Chambord’. The Chambord became quite popular across France, until the 1970s when Bodum began working with Martin S.A. to distribute the Chambord model in Denmark and eventually Bodum bought out Martin S.A. in 1991. This became an ongoing legal issue well into the 2000s.

Bondanini French Press Patent 1958

 

Kasher, patent filed in New York, U.S.A., 1965

A lesser-known French Press inventor is Charles D. Kasher who filed a patent for the Insta-Brewer in 1965 (granted in 1967) with the backing of Boonton Molding Company, Indc. N.J. Kasher’s design aimed at addressing the issue of cleanly removing coffee grounds from the press. His design included the standard French Press metal filter for compressing the coffee grounds to the bottom but added a solid metal disk at the bottom that would sit underneath the coffee. This disk was attached to a slimmer lifting rod that ran up through the pressing rod. This allowed you to press the grounds once the coffee was brewed then use the inner lifting rod to pull out the coffee grounds (held between the lower solid metal disk and upper metal filter).

Charles Kasher French Press Patent 1965

Although this design has not experienced the popularity of its predecessors, it did experience some fame. Charles Kasher was not only an inventor, but he was also a film producer, and the Insta-Brewer featured in the 1965 film produced by Harry Saltzman, The Ipcress File, starring Sir Michael Caine! Caine’s Tommy Palmer brewed with the Insta-Brewer in the film and even starred as the notorious bespectacled detective in a print ad for Kasher’s coffee press.

Sir Michael Caine as Tommy Palmer in The Ipcress File (1965) Using the Insta-Brewer     Sir Michael Caine in print ad as Tommy Palmer for Insta-Brewer

Although the model hasn’t lasted the test of time, it remained in vogue in America until the 1980s.

 

Newsletter

Subscribe Newsletter:

Don't worry - we don't serve spam in our cafe, so you won't get it in your emails.

Locations

Find a Store

Find one of our cafe showrooms near you, or start your order online for take out or delivery

© 2026 Crema Coffee Garage. All rights reserved.
Copyright © 2026 Crema Coffee Garage. All rights reserved.